Описание
Термокожух ТГБ-7-12 предназначен для установки сетевых (IP) и аналоговых видеокамер с объективами, ИК прожекторов и другого электронного оборудования и защиты его от воздействия окружающей среды (влаги и отрицательных температур).
ТЕРМОКОЖУХ ОБЕСПЕЧИВАЕТ
- автоматическое включение/отключение встроенного обогревателя в заданном диапазоне температур,
- две ступени мощности обогрева.
ТЕРМОКОЖУХ ТГБ-7-12 СООТВЕТСТВУЕТ
- техническим требованиям - ГОСТ Р 51558,
- требованиям по безопасности ГОСТ Р МЭК 60065,
- требованиям по ЭМС ГОСТ Р 50009, ГОСТ Р 51317.3.2, ГОСТ Р 51317.3.3,
- степени защиты от поражения электрическим током по ГОСТ 12.2.007.0 III классу.
Модуль видеокамеры изолирован от корпуса термокожуха.
Изделие выпускается по техническим условиям ТУ 26.30.50-077-31006686-2017.
Климатическое исполнение термокожуха соответствует УХЛ 1,5 ГОСТ 15150.
СОСТАВ ТЕРМОКОЖУХА. ГАБАРИТНЫЕ И УСТАНОВОЧНЫЕ РАЗМЕРЫ:

| 1 | Термокожух ТГБ-7-12 |
| 2 | Гермоввод PBA11-10 Ø, кабеля 10 ÷, 6*** мм 2 шт. (один гермоввод имеет заглушку) |
| 3 | Модуль для видеокамеры |
| 4 | Болт заземления |
| 5 | Шарнир |
| 5.1 | Гайка болта фиксации шарнира |
| 6 | Кронштейн |
| 7 | Солнцезащитный козырёк |
*** Гермовводы для кабелей другого диаметра устанавливаются по отдельной заявке.
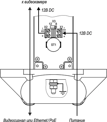
СХЕМА ПОДКЛЮЧЕНИЯ:

- Единица измерения: 1 шт
- Габариты (мм): 455x110x110
- Масса (кг): 3.50
Напряжение питания 12 В DC
Температура вкл./откл. обогрева 20 С ±, 3 С / 25 С ±, 3С
Мощность обогрева* 12 Вт / 8 Вт
Материал корпуса сплав алюминиевый (покрытие краска порошковая RAL9002**)
Диапазон рабочих температур (8 Вт / 12 Вт) -45 С / -35 С ÷, +50 С
Устойчивость к низким температурам III (высокая)
Влажность воздуха до 100% при +25 С
Устойчивость к внешним воздействиям III (высокая) IP66/IP68
Устойчивость к несанкционированным действиям (НСД) II (средняя)
Вес c упаковкой (не более) 3,5 кг
Режим работы круглосуточный
* Предприятием изготовителем джампер выбора мощности обогрева Х3 установлен в положение 12 мощность обогрева 12 Вт, для изменения мощности на 8 Вт джампер X3 необходимо пере-ставить в положение 8.
** Другой цвет покрытия по отдельной заявке.
* ООО ИННОПРОМ (ИНН 5040171717) уведомляет, что производитель товара оставляет за собой право изменять характеристики товара, его внешний вид и комплектность без предварительного уведомления продавца. Не является публичной офертой согласно Статьи 437 п.2 ГК РФ.