г. Москва, Шереметьевская ул. д. 85 стр. 2
Режим работы: Пн-Пт с 9:00 до 18:00
Каталог оборудования
171289
Тахион

Тахион ТГБ-7С-220/12

Цена
15 660.00 ₽
Артикул
171289
Форм-фактор
Стандартный
Полезный объем
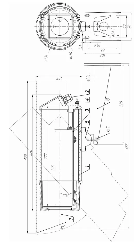
70x70x215
Общие размеры
127x127x420
Температурный режим
От -60 градусов
Кронштейн в комплекте
Да
Производитель
Тахион
Питание
220VAC / 12VDC
Подробнее

Описание

ТГБ-7С-220/12 - гермбокс с возможностью установки на него стеклоочистителя СО-1.

Термокожух ТГБ-7 предназначен для установки IP и аналоговых видеокамер с объективами, ИК прожекторов и другого электронного оборудования и защиты его от воздействия окружающей среды (влаги и отрицательных температур).

Изделие обеспечивает:

  • автоматическое включение/отключение встроенного обогревателя в заданном диапазоне температур,
  • непосредственный обогрев стекла термокожуха,
  • преобразование ряда входных напряжений в стандартный ряд напряжений питания видеокамер,
  • безаварийное включение электропитания видеокамеры при отрицательной температуре внутри гермобокса, обеспечивая надежную работу видеокамеры при перерывах в электропитании и исключая выход видеокамеры из строя при запуске,
  • две ступени мощности обогрева, что позволяет использовать термокожух в разных климатических зонах в соответствии с ГОСТ 15150-69,
  • модуль видеокамеры изолирован от корпуса термокожуха.

    Изделие выпускается по техническим условиям ТУ 4372-026-31006686-2011.




    Термокожух для видеокамер ТГБ-7 соответствует:

  • техническим требованиям - ГОСТ Р 51558-2008,
  • требованиям по безопасности – ГОСТ Р МЭК 60065-2005,
  • требованиям по ЭМС – ГОСТ Р 50009-2000, ГОСТ Р 51317.3.2-99, ГОСТ Р 51317.3.3-99,
  • степени защиты от поражения электрическим током – III классу ГОСТ 12.2.007-75,
  • условиям эксплуатации – ГОСТ 12997-84 группам Д3, Р1 и N2.
  • климатическое исполнение термокожуха соответствует УХЛ1.5 ГОСТ 15150-69.

    Степень защиты IP 66.


    Данная модификация термокожуха доработана для использования данного термокожуха со стеклоочистителем СО-1.

    Подключение ТГБ-7- ~220/12(~220)


      Комплектация:

    1. Гермобокс ТГБ-7,
    2. Гермоввод PBA9-08 – диаметр кабеля 8 ÷ 4,5* мм – 2 шт.,
    3. Модуль для видеокамеры,
    4. Болт заземления,
    5. Шарнир. Болт фиксации шарнира,
    6. Кронштейн,
    7. Солнцезащитный козырёк.
    • Единица измерения: 1 шт
    • Габариты (мм): 229x420x131
    • Масса (кг): 3.50


    • Напряжение питания: 220В±10% АC
    • Напряжение/ток внутреннего источника питания:
          12В ±10% DC / 0,7А,
          220В ±10% АC / 0,1А
    • Температура вкл./откл. обогрева: 20°С±3°С / 25°С±3°С
    • Мощность обогрева: 31Вт/21Вт
    • Максимальный потребляемый ток (включая видеокамеру): 0,2А / 0,15А
    • Диапазон рабочих температур: - 60°С ÷ +50°С / - 40°С ÷ +50°С
    • Температура холодного запуска откл./вкл.: -10°С±3°С / 0°С±3°С
    • Вес с упаковкой не более 3,5 кг
    • Режим работы круглосуточный


    Габаритные размеры:




    * ООО ИННОПРОМ (ИНН 5040171717) уведомляет, что производитель товара оставляет за собой право изменять характеристики товара, его внешний вид и комплектность без предварительного уведомления продавца. Не является публичной офертой согласно Статьи 437 п.2 ГК РФ.