г. Москва, Шереметьевская ул. д. 85 стр. 2
Режим работы: Пн-Пт с 9:00 до 18:00
Каталог оборудования
229788
AccordTec

AccordTec AT-VD432C

Цена
7 980.00 ₽
Артикул
229788
Тип
домофон (переговорное устройство)
Количество каналов
4
С функцией памяти
Нет
Технология/способ установки
многопроводной
С видео
Да
Система изображения
CVBS
Тип связи
полудуплексный
Диагональ экрана
4.3
Цвет внутреннего домофона
Белый
Рабочая температура (мин), °C
От 0 до +40
Тип соединения устройства
проводное
Количество внутренних домофонов
1
Функция общего вызова
Да
Функция одиночного вызова
Да
Внутр. связь
Да
Кол-во вызывных панелей
2
Кол-во камер
2
Кол-во мониторов
3
Наличие трубки
Нет
Встроенный блок питания
Да
Переадресация на мобильный
Нет
Расширение до максимального количества наружных блоков
4
Расширение до максимального количества внутренних блоков
4
Производитель
AccordTec
Подробнее

Описание

AccordTec AT-VD432C - цветной 4-x проводный, 4,3' LCD TFT (480*272) видеодомофон.

Особенности:
  • Подключение двух вызывных панелей и двух видеокамер.
  • Адресный 'интерком'.
  • Накладной тип крепления.
  • Габаритные размеры: 71 х 116 х 16 мм.
  • Цвет корпуса белый.
  • Питание AC220V.
  • Совместим с вызывными панелями CVBS.
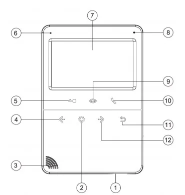
  • Название компонентов и их функции





    Комплект поставки


    Схема максимальной конфигурации

    Максимальная конфигурация системы: один основной монитор, три дополнительных монитора, две вызывные панели, 8 дополнительных видеокамер.

    Вы можете не использовать, дополнительные мониторы, дополнительные камеры, вторую вызывную панель.



    Пример электрической схемы соединений. Четыре монитора и две вызывные панели.



    • Единица измерения: 1 шт
    • Габариты (мм): 171x116x16
    • Масса (кг): 0.28

    • Модель: AT-VD432C
    • Габариты, мм: 171 х 116 х 16
    • Рабочая температура: от 0 до +40
    • Материал корпуса: пластик
    • Разрешение: 480 х 272
    • Цвет корпуса: белый
    • Вес, г: 274
    • Тип изделия: Монитор домофона
    • Относительная влажность, %: от 0 до 95
    • Питание, В: 220
    • Диагональ экрана, дюймы: 4,3
    • Поддержка формата видео: CVBS
    • Подключение вызывных панелей, шт: 2
    • Мониторов в системе, шт: 4
    • Адресный интерком: есть
    • С трубкой, без трубки: без трубки
    • Управление: сенсорные кнопки
    • Поддержка SD карты: нет
    • Запись по детектору движения: нет
    • Поддержка приложения для смартфона: нет
    • Подключение к подъездной системе: Аккордтек


    * ООО ИННОПРОМ (ИНН 5040171717) уведомляет, что производитель товара оставляет за собой право изменять характеристики товара, его внешний вид и комплектность без предварительного уведомления продавца. Не является публичной офертой согласно Статьи 437 п.2 ГК РФ.

    Вы недавно просматривали

    В наличии

    JSB-Systems JSB-V082 AHD 1.3mp (медь)

    Артикул: 172352

    Производитель: JSB-Systems

    Розничная цена: 7 980.00 ₽

    Ваша цена
    В корзину

    В наличии

    VIZIT БВД-N201FCP

    Артикул: 156617

    Производитель: VIZIT

    Розничная цена: 7 980.00 ₽

    Ваша цена
    13 590.00 ₽
    В корзину