Описание
Особенности:
- Внешний вид
- Микрофон
- Видеокамера
- Подсветка
- Кнопка вызова
- Динамик
Схема подключения
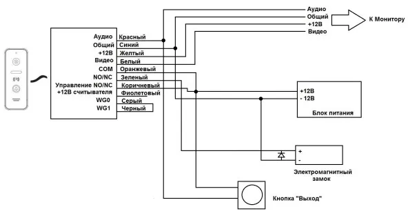
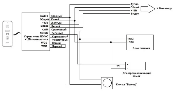
Автономная работа с электромеханическим замком
Примечание: диоды в комплект поставки не входят.
Для включения автономного режима необходимо соединить WG0 и WG1, серый и черный провод. В автономном режиме максимально возможное количество карт доступа - 20 шт.
Автономная работа с электромагнитным замком
Схема установки вызывной панели
- Накладная установка (на стену)
- Просверлите отверстие в стене на нужной высоте.
- Открутите фиксирующий винт в нижней части панели и снимите ее с кронштейна.
- Закрепите кронштейн на стене с помощью шурупов.
- Проведите кабели через стену и кронштейн, подключите вызывную панель согласно схеме.
- Установите панель на кронштейн и закрепите ее фиксирующим винтом в нижней части.

- Накладная установка на угловой кронштейн (поворот 30 град.)
- Просверлите отверстие в стене на нужной высоте.
- Закрепите угловой кронштейн на стене с помощью шурупов.
- Открутите фиксирующий винт в нижней части панели и снимите ее с плоского кронштейна.
- Установите плоский кронштейн на угловой.
- Проведите кабели через стену и кронштейн, подключите вызывную панель согласно схеме.
- Установите панель на плоский кронштейн и закрепите ее фиксирующим винтом в нижней части.

- Единица измерения: 1 шт
- Габариты (мм): 48x134x16
- Масса (кг): 0.20
- Разрешение видеомодуля: 800 ТВл
- Считыватель: Mifare (EM, для версии панели до 2021 года)
- Угол обзора: 110 гр
- Схема подключения: 4х проводная
- Формат сигнала: PAL
- Подсветка видеомодуля: Белая (ИК, для версии панели до 2021 года)
- Подсветка кнопок: Есть
- Регулировка аудио: Ручная (Авто, для версии панели до 2021 года)
- Питание: DC 12v
- Цветовая гамма: Черный (Белый)
- Материал корпуса: Металл + Акриловое стекло
- Комплектация: Уголок
- Рабочая температура: от -30 до +60С
- Размеры: 48x133.2х15.5мм
- Комплектация:
- Вызывная панель
- Плоский кронштейн
- Угловой кронштейн
- Комплект для монтажа
- Руководство по эксплуатации
- Карта доступа - 3шт.
* ООО ИННОПРОМ (ИНН 5040171717) уведомляет, что производитель товара оставляет за собой право изменять характеристики товара, его внешний вид и комплектность без предварительного уведомления продавца. Не является публичной офертой согласно Статьи 437 п.2 ГК РФ.