Описание
Причина уценки: следы монтажа, только 1 записывающая карта Mifare.
Вызывная панель Falcon Eye FE-ipanel 3 ID сочетает в себе современный дизайн и широкий функционал: встроенный считыватель EM-Marine, видеомодуль с разрешением 800 ТВЛ и углом обзора 110, инфракрасная подсветка. Работа с контроллером по Wiegand 26 или автономная работа - память на 20 карт EM-Marine. В панели есть как, НО, так и НЗ контакты реле, что позволит подключить электромагнитный замок без дополнительного контроллера. Панель может работать при температурах от -30 до +60 и имеет класс защиты IP66.
Особенности:
- Металлический корпус
- Видеомодуль с разрешением 800 ТВЛ
- ИК подсветка
- Встроенный считыватель EM-Marine
- Встроенный контроллер
- Автономная память на 20 карт EM-Marine
- Управление замком
- Класс защиты IP66
- 4-хпроводное соединение
- Автономная работа или работа с контроллером по Wiegand 26
Внешний вид

- Микрофон
- Видеокамера
- Подсветка
- Кнопка вызова
- Динамик
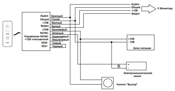
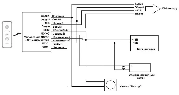
Схема подключения
Автономная работа с электромеханическим замком

Примечание: диоды в комплект поставки не входят.
Для включения автономного режима необходимо соединить WG0 и WG1, серый и черный провод. В автономном режиме максимально возможное количество карт доступа - 20 шт.
Автономная работа с электромагнитным замком

Схема установки вызывной панели
- Накладная установка (на стену)
- Просверлите отверстие в стене на нужной высоте.
- Открутите фиксирующий винт в нижней части панели и снимите ее с кронштейна.
- Закрепите кронштейн на стене с помощью шурупов.
- Проведите кабели через стену и кронштейн, подключите вызывную панель согласно схеме.
- Установите панель на кронштейн и закрепите ее фиксирующим винтом в нижней части.

- Накладная установка на угловой кронштейн (поворот 30 град.)
- Просверлите отверстие в стене на нужной высоте.
- Закрепите угловой кронштейн на стене с помощью шурупов.
- Открутите фиксирующий винт в нижней части панели и снимите ее с плоского кронштейна.
- Установите плоский кронштейн на угловой.
- Проведите кабели через стену и кронштейн, подключите вызывную панель согласно схеме.
- Установите панель на плоский кронштейн и закрепите ее фиксирующим винтом в нижней части.

- Единица измерения: 1 шт
- Габариты (мм): 48x134x16
- Масса (кг): 0.20
- Разрешение видеомодуля: 800 ТВл
- Считыватель: EM-Marine
- Угол обзора: 110 гр
- Схема подключения: 4х проводная
- Формат сигнала: PAL
- Подсветка видеомодуля: ИК
- Подсветка кнопок: Есть
- Регулировка аудио: Авто
- Питание: DC 12v
- Цветовая гамма: Черный (Белый)
- Материал корпуса: Металл + Акриловое стекло
- Комплектация: Уголок
- Рабочая температура: от -30 до +60С
- Размеры: 48x133.2х15.5мм
Комплектация:
- Вызывная панель
- Плоский кронштейн
- Угловой кронштейн
- Комплект для монтажа
- Руководство по эксплуатации
- Карта доступа - 1шт.
* ООО ИННОПРОМ (ИНН 5040171717) уведомляет, что производитель товара оставляет за собой право изменять характеристики товара, его внешний вид и комплектность без предварительного уведомления продавца. Не является публичной офертой согласно Статьи 437 п.2 ГК РФ.